导读:“三步法”是我国评判专利创造性的基本方法,使用“三步法”评判创造性需要客观地完成每一步的判断,其中对于实际解决的技术问题的确定和应用,是第二步和第三步能够客观判断的基础。当前的审查实践中,审查人员对于技术问题的确定常常过于主观,同时在判断技术启示时容易忽略对于技术问题本身合理性的思考。本文从实际解决的技术问题的角度出发,介绍了如何正确认定实际解决的技术问题并应用该技术问题,给出了以技术问题为核心来正确判断创造性的步骤。
关键词:创造性;技术问题;三步法
一、审查指南的规定
关于专利创造性的判断,《审查指南2010》第二部分第四章3.2.1.1给出了一般的判断方法(即“三步法”),包括:
(1)确定最接近的现有技术;
(2)确定发明的区别特征和发明实际解决的技术问题;
(3)判断要求保护的发明对本领域技术的人员来说是否显而易见。
《审查指南2010》更进一步地解释了技术问题的含义:“发明实际解决的技术问题,是指为获得更好的技术效果而需对最接近的现有技术进行改进的技术任务……基于最接近的现有技术重新确定的该发明实际解决的技术问题,可能不同于说明书中所描述的技术问题;在这种情况下,应当根据审查员所认定的现有技术重新确定发明实际解决的技术问题……作为一个原则,发明的任何技术效果都可以作为重新确定技术问题的基础,只要本领域的技术人员从该申请说明书中所记载的内容能够得知该技术效果即可”。
二、技术问题的确定
根据“三步法”的内容,需要在“三步法”的第二步确定了发明实际解决的技术问题,然后在第三步去评判相关的技术启示,并得出专利是否具备创造性的结论。由于实际解决的技术问题是根据区别特征所能达到的技术效果来确定【1】,因此考虑的重点应在于专利的区别特征,所以在确定技术问题时通常无需考虑最接近现有技术是否存在该技术问题,而是当技术问题确定后,在第三步的“技术启示”的判断中再着重考虑该技术问题是否存在于最接近的现有技术,以上判断的流程符合“三步法”的应有之义,也正是本文所主张的判断顺序。
需要注意的是,按着《审查指南2010》的规定,上述“实际解决的技术问题”的基础,即技术方案基于区别特征而得出的技术效果,需要能够从该专利说明书中所记载的内容中被得知,换言之,若某个技术效果无法从说明书的内容中毫无疑义地得出,则以该未记载的技术效果为基础确定的技术问题,不应当作为“实际解决的技术问题”。然而,在审查实践中,审查员常常不会阐明区别特征在发明中的作用,而是直接给出其主观认为的技术问题,不论说明书是否对区别特征有相关描述,这种主观认定的技术问题往往与说明书中明确记载的区别特征对应的技术问题、区别特征在发明中的作用或使发明达到的技术效果差别较大,很难得到申请人或发明人的认可【2】。
如果某个区别特征的技术效果未记载在说明书中,但是该技术效果属于本领域的公知常识,是否可以作为总结“实际解决的技术问题”的基础?笔者认为,审查指南的相关规定应当做狭义地解释,即上述的技术效果应当仅限于说明书明确记载的或毫无疑义公开的内容,通常情况下不应当包括公知常识,原因在于:1. 对于整体技术方案取得的效果和实质性特点,申请人具有主观的认识和判断,申请人主动地将这些效果或特点记载在说明书中,说明书作为权利要求的基础,权利要求的技术方案来源于对说明书的总结和提炼,据此对技术方案的理解应当依据说明书的公开内容(内部证据大于外部证据),而不当将未记载的公知常识纳入到说明书的范围中;2. 若将公知常识的技术效果也考虑进去,会导致申请人获得额外的利益,因为基于一个区别技术特征,可能会使专利申请的技术方案产生几个、甚至更多的实际解决的技术问题,不合理地增加了评判创造性的难度。
需要强调的是,以说明书为基础确定技术效果和技术问题,并不代表着最终确定的技术效果和技术问题一定与说明书的记载完全相同,也并非完全排斥区别特征的公知技术效果。审查人员需要重视区别特征获得的效果对技术问题的导出作用的同时应当认真考虑区别特征获得的效果是否确实如说明书所述以及是否能够通过说明书证实【3】,如果技术人员能够毫无疑义地确定说明书记载的技术效果有误,则不必拘泥于说明书的记载,在这种特殊情况下可以考虑区别特征的公知效果,并按着区别特征客观能达到的技术效果来确定技术问题。
有观点认为【4】,为了对技术问题的确定更加合理、恰当,可以用反向思维法去检验确定的技术问题是否准确:即从确定的技术问题出发,以本领域技术人员的角度(此时要彻底忽略掉本发明中相应的技术特征)来判断解决该技术问题的手段有哪些,若容易想到的技术手段中不是该发明或其他现有技术中为解决该技术问题的相应手段,则确定的技术问题是不恰当的;若很容易就想到该相应的技术手段,则确定的技术问题比较恰当。本文认为,反向思维法具有一定的合理性,通常情况下可以用来判断确定的技术问题准确与否,但是需要考虑到一种特殊的情况,即区别技术特征的技术手段本身带来了预料不到的技术效果,使得本领域技术人员不容易想到该技术手段会在本发明中起的作用,例如《审查指南2010》中在第二部分第四章4.4中提到的关于“潜艇副翼”的发明,区别特征是从飞机上借鉴而设置的一种副翼,是技术人员不容易想到的且带来了预料不到的技术效果,而不能反向检验说该区别特征确定的技术问题不合理。在这种情况下,其实无需再按着“三步法”的固定步骤去确定技术问题并判断结合启示,而可以直接运用“预料不到的技术效果”得出具备创造性的结论。
三、技术问题的运用
关于“三步法”的最后一步有关技术启示的判断,《审查指南2010》规定的是“判断过程中,要确定的是现有技术整体上是否存在某种技术启示,即现有技术中是否给出将上述区别特征应用到该最接近的现有技术以解决其存在的技术问题(即发明实际解决的技术问题) 的启示,这种启示会使本领域的技术人员在面对所述技术问题时,有动机改进该最接近的现有技术并获得要求保护的发明。如果现有技术存在这种技术启示,则发明是显而易见的,不具有突出的实质性特点”。
在评判创造性的过程中,当前的审查实践往往默示技术问题存在于最接近的现有技术,对于结合启示往往只考虑是否存在结合障碍:即技术领域的相关性(即工作原理类似)、技术手段的完整性(即区别特征能从对比文件中被分离出来)和对比文件的结合性(即对比文件的结合难度)【5】,没有从实际解决的技术问题是否存在于最接近的现有技术的角度去判断。虽然“三步法”的第二步已经得出了实际解决的技术问题,但由于该技术问题是通过与专利的对比后反向推导出来的,与发明创造产生的过程相反,不能客观地评价现有技术的公开内容。如果在创造性判断中先入为主地认为最接近的现有技术一定具有该技术问题,则容易犯“事后诸葛亮”的错误。
因此,在第三步技术启示的判断中,应当首先考虑第二步得出的实际解决的技术问题是否存在于最接近的现有技术中,如果存在,则证明本领域技术人员有动机对最接近的现有技术进行改造以解决上述的技术问题,需要继续判断最接近的现有技术与公开的区别特征是否存在结合障碍,从而得出专利申请是否具备创造性的结论。
如果实际解决的技术问题不存在于最接近的现有技术,则需要进一步的判断,而不能立即得出专利申请是否具备创造性的结论。有观点认为,判断一项发明是否显而易见包括了提出或发现发明要解决技术问题是否显而易见以及解决该技术问题所采用的技术方案是否显而易见两个方面,二者中只要其一是非显而易见地,则应该认为该发明是非显而易见的。【6】笔者认为,这种观点混淆了技术问题和技术方案的关系,技术问题是为技术方案服务的,创造性的最终判断基础是考虑专利申请的技术方案是否具备创造性,而不是考虑专利申请提出的某个技术问题是否具备创造性,因为专利申请最终呈现给公众的也不是某个技术问题,而是一个完整的技术方案。事实上,只有技术问题非显而易见,未必会导致专利申请具备创造性。例如,某专利申请涉及一种在露天场合使用的曲面椅,椅子的座面为弧形并与人体的外形相一致,在座面的最低处设置有一个漏水孔,这样避免了座面积水,使得座面可以容易地变干。如果最接近的对比文件是座面没有任何孔的曲面椅,那么专利申请实际解决的技术问题则是便于排水,使桌面容易变干。该技术问题可能是非显而易见的,因为技术人员可能不会意识到座面积水的问题,但是作为一种露天座椅,为了增加座面的透气性、减少成本或者美观等因素的考虑,技术人员有动机在座面设置公知的通孔,虽然主观动机不是为了解决积水的问题,但客观上也解决了防止积水的技术问题,从而导致涉案申请的技术方案可以显而易见地得到,因此不具备创造性。
所以,在实际解决的技术问题不存在于最接近的现有技术中时,需要先判断本领域技术人员是否有其他动机对最接近的现有技术进行改造,且改造后的技术方案也能够解决上述实际解决的技术问题,若其他动机存在,则继续判断是否存在结合障碍,若其他动机不存在,则可以得出发明申请具备创造性的结论。
笔者主张的创造性判断过程如图1所示:

四、案例说明
下面,笔者将结合几个案例具体说明上述的判断过程。
4.1. 最接近的现有技术存在实际解决的技术问题
这种情况是审查指南中最理想的情形,即最接近的现有技术存在“实际解决的技术问题”和被改造的需要,当区别技术特征在领域相同或相近的现有技术文献中公开,且区别技术特征在所述文献中解决的技术问题与在发明申请中解决的技术问题相同,一般则认为发明申请是可以显而易见地得到,不具备创造性。
某专利保护的是一种具有3D打印图文表面的金融交易卡,现有技术中的金融交易卡基本是由丝网印刷或者平板胶印印刷形成的图文,存在的问题包括:1)在印刷图文前,丝网印刷需要绷网,平板印刷需要制作PS版,两种印刷图文的准备工作复杂且繁琐;2)丝网印刷和平板印刷形成的图文是平的,不能实现立体效果,图案单一。
该专利申请提供了一种具有3D打印图文表面的金融交易卡,能够解决上述的问题,其权利要求1的保护范围是:
一种具有3D打印图文表面的金融交易卡,具有卡基,所述卡基从上至下依次由正面保护膜层、正面基片层、中间INLAY层、反面基片层、反面印刷图文层、反面保护膜层构成,其特征在于:所述正面保护膜层上表面上附着有3D打印图文层,所述3D打印图文层的高度为0.05-0.46mm。
对比文件1公开了一种多层面立体效果接触式集成电路磁条卡,和专利申请属于同一技术领域,公开了专利申请权利要求1的大部分特征,唯一的特征是“所述正面保护膜层上表面上附着有3D打印图文层,所述3D打印图文层的高度为0.05-0.46mm”。基于该区别技术特征,专利申请的技术方案实际解决的技术问题是:提供一种立体式图文的金融交易卡,克服图案单一、手感触觉体验差的问题。
对于本领域技术人员来说,上述技术问题毫无疑义地存在于对比文件1中,因为提高商业价值、增加客户体验是金融卡行业普遍追求的,而形成立体图文能够很好地提升卡片价值,对比文件1显然存在这种需要。
对比文件2公开了一种针对价值凭证特别是钞票、身份证等这类文件安全性的生产方案,和专利申请属于同一技术领域,其安全性通过使用一个特定的触觉元件来表示,该触觉元件是由3D打印形成的,优选高度为60微米到200微米,其中80微米到140微米为最佳高度。
可见,对比文件2公开了区别技术特征,且该特征在对比文件2中起到的作用与在涉案专利中相同。结合技术方案的整体来看,对比文件1和对比文件2的结合不存在结合障碍,且两者结合得到权利要求1保护的方案是容易想到的,因此权利要求1不具备创造性。
4.2. 最接近的现有技术不存在实际解决的技术问题
当最接近的现有技术不存在“实际解决的技术问题”时,即使区别技术特征已经被现有技术公开,也不能直接地将两者结合,而需要判断是否存在结合启示。这种结合启示的判断分两步走,第一步判断是否存在其他动机改进最接近的现有技术以客观地解决了技术问题,若存在上述动机,则第二步再判断是否存在结合障碍;若不存在上述动机,则可以得出专利申请具备创造性的结论。
4.2.1 存在其他动机改进最接近的现有技术
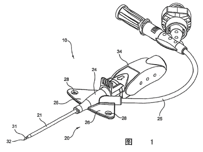
某专利申请保护的是一种通用抓持式导管装置,现有技术中的导管装置公知地存在有“直式抓持”、“端持式抓持”和“翼式抓持”等三种抓持方式,单个导管装置通常只包含有其中一种抓持方式,并且在不同的售卖区域销售的抓持方式各有不同,不存在将上述三种方式结合在同一个导管装置的方案。这就束缚了使用者的技术和技能,无法使用最适合于使用者的和患者的需要的抓持技术。本专利申请将常见的三种抓持方式结合在单个导管组件中,使得单个导管组件能满足不同的使用习惯,而不需要改型或者专门的产品来迎合该售卖区域常见的专用抓持构造。
本专利申请的权利要求1的方案是:
1. 一种通用抓持式导管装置,包括:
导管适配器(16),其具有远端和近端(50),所述远端支承导管(70),所述远端还包括固定平台(62),所述固定平台占据所述导管适配器的第一侧并且包括至少一个翼状延伸部;
针尖端护罩(14)…… ,
针座(12)…… ,
其特征在于:
所述针座(12)包括刚性或半柔性的远侧延伸部,所述远侧延伸部形成叶片状抓持部(30),
……
所述翼状延伸部处于与所述叶片状抓持部(30)相对的位置处。
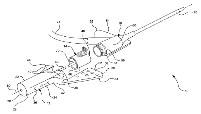
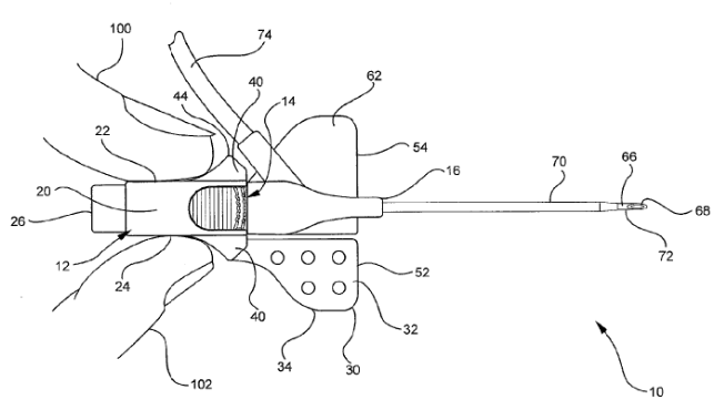
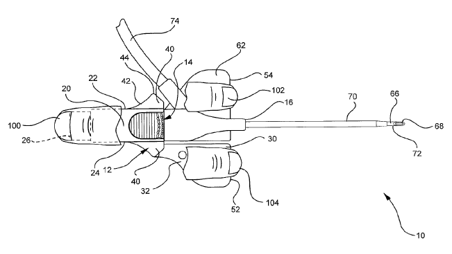
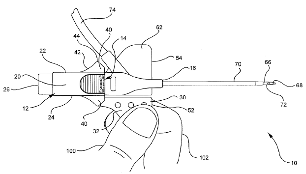
权利要求1的技术方案如图2所示,能够同时实现三种抓持方式,具体如图3所示的直式抓持、图4所示的端持式抓持和图5所述的翼式抓持。

图2 (权利要求1的方案)

图3 (直式抓持)

图4 (端持式抓持)

图5 (翼式抓持)
对比文件1公开了一种安全装置及带有安全装置的导管和引入针组件(如图6所示),对比文件1公开了导管座24(相当于导管适配器)、针罩40(相当于针尖端护罩)、针座34及针座34上延伸出的握持片36(相当于叶片状抓持部),对比文件1公开了权利要求1的大部分特征,区别技术特征仅在于:导管适配器还包括固定平台,所述固定平台占据所述导管适配器的第一侧并且包括至少一个翼状延伸部;所述翼状延伸部处于与所述叶片状抓持部相对的位置处。由于对比文件1的技术方案可以实现直式抓持和翼式抓持,而实现端持式抓持需要大拇指握住针座底端,而食指和中指分别握持固定平台和叶片状抓持部,由于对比文件1的导管适配器上没有设置固定平台,所以无法实现端持式抓持。在上述区别技术特征的基础上,权利要求1的技术方案实际解决的技术问题在于:如何提供一种可实现端持式抓持的导管装置。

图6 (对比文件1的方案)
对比文件2公开了一种带有刚性件的翅翼的导管及其制造方法(如图7所示),其中在导管适配器24上包括一对翅翼26,翅翼26相当于专利申请的固定平台,根据对比文件2的说明书的记载,翅翼26在对比文件2中同样可以实现端持式抓持,可见对比文件2公开了上述区别技术特征。

图7 (对比文件2的方案)
虽然对比文件2公开了区别特征,但是对比文件1能否和对比文件2结合存在疑问。因为对于实际解决的技术问题“如何提供一种可实现端持式抓持的导管装置”而言,对比文件1不存在上述的技术问题,也没有证据证明本领域技术人员有动机将对比文件1改造成能够实现端持式抓持的导管结构,因此不假思索地将两者直接结合存在“事后诸葛亮”的嫌疑。
然而,对比文件1虽然不存在改造成“端持式”抓持的技术问题,但对比文件1存在另一个突出的、待解决的技术问题,即如何实现更好地固定导管适配器。众所周知,在静脉留置针领域,当操作者完成刺入注射后,需要将导管适配器(导管座)固定在患者身体上,以便于下次注射时无需重新刺入,减轻患者的疼痛。对于上述的固定作用,可以使用胶带直接将导管适配器粘贴在患者身体上,但这种固定方式常常不稳固容易脱落,后来逐步进化成在导管适配器上设置固定平台,使用胶带将固定平台与患者身体粘贴在一起,这种固定方式更稳固,且对患者的伤害更小,对比文件2的附图(见图8)公开了此种固定方式,且其他诸多的公知常识证据均可以证明技术领域中固定平台的固定作用。

图8 (对比文件2的“固定平台”)
为了解决导管适配器的固定问题,在对比文件1中设置一个固定平台是显而易见的。在对比文件1中已经存在了叶片状抓持部的情况下,由于空间的限制,所述的一个翅翼必然会设置在与叶片状抓持部相对的位置处,在结合后的技术方案基础上,本领域技术人员可以实现端式的抓持,无需付出创造性的劳动。
可见,技术人员基于其他的动机同样可以显而易见地得到权利要求1的技术方案,导致权利要求1的技术方案不具备创造性。对于这种评判创造性的方式,日本《审查指南》有明确的规定:即使是发明申请与引证发明要解决的技术问题不相同,如果本领域技术人员能够容易地以一种不同于发明申请的问题解决思路得出发明申请的技术方案,则发明申请不具备创造性【7】。
中国的法律实践对于这种情况一般也认为不具备创造性,但是在评述时通常绕开了“三步法”,即在认定区别特征后没有确定实际解决的技术问题,而直接以区别特征是容易想到的、技术方案可以显而易见地得到为理由作出不具备创造性的结论。这种评述方式具有较强的主观性,常常不容易让当事人信服,因此不宜回避“三步法”来评述此种情况下专利申请的创造性,可以按着本文的思路从各个合理动机的角度去判断实现技术方案的可能性,在“三步法”的框架内得出结论。
4.2.2 不存在其他动机改进最接近的现有技术
某专利申请保护的是一种具有电流表本体和电流钳的钳型电流表,电流表本体和电流钳被配置成使电流钳可以从电流表本体分离,以便钳型电流表可以在电流钳或者连接到电流表本体或者从电流表本体上分离时进行操作。权利要求1的技术方案如下:
1.一种钳型电流表,包括:
电流表本体,其包括测量电路,该测量电路被配置成从输入信号测量电流;
电线,其具有第一端和第二端,其中该测量电路被整体地耦合于该电线的该第二端;和
电流钳,其通过电线电耦合到该电流表本体并整体地耦合于该电线的该第一端,其中该电流钳被配置成通过电线向该电流表本体提供输入信号,其中该电流表本体和该电流钳被配置成使该电流钳可以从该电流表本体分离,并且其中当该电流钳连接到该电流表本体时和当该电流钳从该电流表本体分离时该电流钳被配置成通过电线向该电流表本体提供该输入信号,其中该电流表本体包括第一和第二钳保持元件,该保持元件从电流表本体延伸并且在它们之间限定出区域,当连接到该电流表本体上时,该电流钳被定位在该区域中。
钳形电流表的具体结构如图9和图10所示,从图中可以清楚的看到,钳保持元件122、126从本体114延伸出来并在它们之间限定了区域,钳型探测器110(或电流钳)被定位在该区域中。

对比文件1公开了一种电压表,如图11和图12所示。其提供了一种既可单手操作探测墙上插座,也可以将探针从显示器壳体中移出用于探测具有任何间接和紧密缝隙的节点,并具体公开了以下特征:该电压具有一个显示器壳体(12)、一对探针(14、16),探针(14、16)通过电线(18、20)与壳体(12)中的电路电连接,由模制塑料制成的壳体(12)是中空的,用来容纳电路;且电线(18、20)通过后表面(34)进入壳体(12)中;探针可以从夹具中分离,每一个探针壳(36)与显示器壳体12分开后探针通过电线(18、20)与显示器壳体(12)连接,探针端(38)能够插入到当显示器壳体夹持探针时探针所不能到达的小间距的检测节点。

图11 (对比文件1的方案)

图12 (对比文件1的方案)
权利要求1的技术方案与对比文件1公开的技术方案相比,区别特征在于:
(1)专利申请保护的是一种电流表,而对比文件1保护的是一种电压表;(2)电流表本体包括第一和第二钳保持元件,该保持元件从电流表本体延伸并且在它们之间限定出区域,当连接到该电流表本体上时,该电流钳被定位在该区域中。基于上述区别特征,权利要求1的技术方案实际解决的技术问题是通过何种方式获取电流值以及如何保持电流钳。
对比文件2公开了一种分体合体两用钳型电流表,具体公开了将钳形电流表的钳型磁路和测量表计做成在结构上分离的两个部件,二者可以通过一对导线连接,成为分体式钳型电流表,也可以直接对接,成为常规的钳型电流表,公开了上述区别技术特征(1)和(2),对比文件2的结构如图13所示:

图13 (对比文件2的方案)
若不考虑对比文件1是否存在上述的技术问题,而直接进行结合启示的判断,则容易认为对比文件2给出了利用钳型装置对电参数进行检测的技术启示,而对比文件2又公开了区别特征,继而推论出对比文件1在对比文件2的技术启示下,容易想到将对比文件1改造成电流表,又进一步设置从电流表本体延伸的两个钳保持元件来保持电流钳,从而获得权利要求1的技术方案,并据此得出权利要求1不具备创造性的错误结论。事实上,上述的推论不符合“三步法”的内涵,所以得出的结论是错误的。
对比文件1是电压表,其工作原理是通过与待测电路并联的方式来测出待测电压,而权利要求1的电流表的技术原理是通过电磁感应的方式测出电流值,两者不光外在的结构不同,其内部工作电路也完全不同。对比文件1不存在上述的技术问题,即“通过何种方式获取电流值以及如何保持电流钳”,因为无论是电压表还是电流表都是本领域的常见设备,技术人员没有动机使用电压表去获取电流值,更没有理由去思考如何保持对比文件1中完全不存在的“电流钳”。此外,技术人员也没有其他的动机去改造对比文件1以得到本申请的技术方案,原因在于:1. 由于对比文件1的内部电路与本申请的内部电路完全不同,若将对比文件1改造成钳型电流表,除了需要将外部设备更换,还需要将内部电路更换,导致对比文件1的原技术方案完全消失,这不符合改造现有技术的客观规律,技术人员不会存在这样的动机去破坏对比文件1的方案;2. 即便强行将对比文件1改造成电流表,也无法显而易见地得到本申请的技术方案,这个过程需要付出过度的劳动。
因此,当最接近的现有技术不存在实际解决的技术问题,又不存在其他动机使得技术人员改造最接近的现有技术以获得专利申请时,该专利申请的技术方案是非显而易见的,具备创造性。
中国的法律实践对于这种情况也认为技术方案是非显而易见地,具备创造性,在评述过程中往往省略了对其他途径的讨论和思考,而直接以最接近的现有技术不存在该技术问题、技术人员在其基础上不会意识到上述技术问题的存在【8】,或者最接近的现有技术没有本专利的上述需求(即实际解决的技术问题)【9】等理由维持专利的有效性。从以上判例的结论来看,没有对于其他动机的讨论。本文认为,在评述过程中应当考虑其他动机的可能性,因为实际解决的技术问题不存在并不代表技术方案是非显而易见的,审查人员需要站在本领域技术人员的角度去考虑是否存在合理的动机改进现有技术,如果通过其他合理动机的改进且不付出过度劳动得到的方案也能解决上述的技术问题,则应当认为要求保护的技术方案是显而易见的、不具备创造性,反之,则具备创造性。
五、总结
专利创造性的判断是评判技术方案是否具备可专利性的核心问题,也是学者们反复思索的疑难问题。在中国“三步法”的评判制度下,正确地认识实际解决的技术问题并正确地应用有利于客观地认定申请的技术方案,本文提供的判断思路合理地考虑了专利创造性判断中出现的各种情况,以技术问题为核心循序渐进地判断,可以最终得出专利申请是否具备创造性的结论。
参考文献:
【1】任晓兰. 专利行政诉讼案件法律重述与评论[M]. 北京:知识产权出版社,2016:60.
【2】孟杰雄. 到底该如何确定要解决的技术问题[J]. 专利代理,2018(2):25-31.
【3】李娟、许翰:《创造性判断过程中实际解决的技术问题》,载《2012年中华全国专利代理人协会年会第三届知识产权论坛论文选编(第一部分)》,会议时间:2011年3月28日,第356-364页。
【4】郝瑞欣. 浅谈正确确定发明实际解决的技术问题的重要性[J]. 中国发明与专利,2016(2):84-88.
【5】谢有成. 创造性判断“三步法”中技术启示判断的整体考虑[J]. 专利代理,2015(2):19-23.
【6】潘炜:《浅论技术问题在创造性判断中的作用》,载《2011年中华全国专利代理人协会年会暨第二届知识产权论坛论文集》,会议时间:2011年3月10日,第320-324页。
【7】参见日本《审查指南》第2部分第2章第2.5节。
【8】参见专利复审委员会第127157号复审决定书,第7页,(专利复审委员会,2017年8月28日)
【9】参见(2016)京行终4365号行政判决书,第15页,(北京市高级人民法院,2017年12月25日)
来源:IPRdaily